

發布時間:2021-11-09作者來源:科理咨詢瀏覽:3533
價值流圖析技術作為一個有效的工具,可以通過做圖的方法,幫助企業考慮整個產品價值流的流動,而不是只考慮孤立的過程,從而使企業能夠對其整個價值流進行持續的、系統化的改進,提高企業的效益和在市場中的競爭能力。
價值流圖分析技術與方法
所謂價值流,是當前產品通過其基本生產過程所要求的全部活動。這些活動包括給產品增加價值和不增加價值兩部分,包括了從產品最基本的原材料階段一直到產品交付顧客的全部過程,如一輛汽車的制造,包括了從顧客要求到概念設計、產品設計、樣車制造、試驗、定型、投產到交付后的使用、信息反饋和回收過程,會經歷很多車間、工廠、公司,甚至可能經歷過多個國家和地區。
▼ 價值流圖析技術
價值流圖析技術是幫助分析整個價值流的一個強有力的工具,它可以使整個價值流變為可視的一張價值流現狀圖,使得價值流中的問題顯現出來,這樣就可以應用各種精益技術將不增值的活動--即浪費消除。
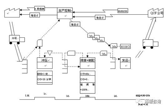
從價值流的定義可以看出,價值流包括整個產品生命周期,地域范圍可能包含若干個企業甚至國家和地區,所以做出產品的整個價值流的圖析是極為復雜的工作,但分析價值流的基本方法是相同的。為了方便起見,這里我們主要討論工廠內的價值流,見下圖:
▼ 價值流圖析技術
在進行價值流圖析之前,需要先來明確實施圖析的主要步驟,如很多技術的實施一樣,價值流圖析也是一個過程,采用5W1H方法,即確定Why(為什么),Who(誰做),What(做什么),When(何時做),Where(在哪做),和How(如何做),前面我們已經說明了為什么做圖析,其它步驟具體為以下六方面的事宜:
需要一位了解產品價值流而且能推進其改進的人,這個人具有領導職責(價值流經理),由他來領導一個小組進行價值流圖析工作。
②What——確定做哪些產品的價值流圖析
通常我們首先按照80—20原則,對影響企業最大的產品進行圖析。
③ When——確定何時做
應在實施改進之前對價值流進行分析,以確定應首先改進哪些過程。
④Where——確定在哪里做
毫無意義,在現場!只有在現場收集的數據才能真正反映價值流的狀況。
⑤How——進行圖析
下面將以CAHC公司價值流圖析為例,簡單說明價值流圖析的應用方法。
價值流圖分析實際應用
▼ 繪制價值流現狀圖
價值流現狀圖的繪制應依據以下幾個步驟進行:
① 了解并記錄顧客的要求
上圖中右上角顧客要求框所示,我們主要了解顧客的需求量、種類、交付頻次和要求等。
② 了解并畫出工廠內材料流圖
上圖中下部的線框所示,也是工廠內的基本生產過程,我們將能夠連續進行的過程列入一個框內,無法連續的,在兩框之間用庫存三角分開。
③ 收集并記錄每個生產過程的數據(數據框)
在每個過程線框下記錄主要數據包括生產節拍、換型時間、操作人數、有效工作時間、設備使用率、廢品率等與過程改進有關的數據。注意,這些數據應是現場收集的,而不是某些資料記載的。
④ 了解庫存情況
小組應對所有庫存(包括線上制品庫存)進行盤點,然后記載庫存三角下面。注意,是點數而非查帳!
⑤ 原材料采購和交付的情況
如上圖左上角所示,了解主要供應商的供貨情況。
⑥ 了解記錄的訂貨、生產計劃、原材料訂貨過程的信息傳遞途徑及信息,畫出信息流
如上圖上部所示,表示出顧客訂單、材料訂單和生產信息傳遞途徑和方法。
⑦ 畫出生產時間線和計算相關數據
將庫存數量按照顧客需求節拍轉化為時間,與生產過程時間數據一同畫在時間線上,求出生產過程時間占整個時間的百分比。畫出的X公司完整價值流現狀圖下圖1所示。
圖1 X公司的現狀圖
繪制價值流過程中,為了最簡化描述整個價值流過程,我們會使用一些圖形表示一定的含義,如上圖所示中使用的圖標,常用的圖標簡述如下:
繪制未來價值流圖
繪制價值流圖析現狀圖的意義在于通過圖析發現工廠生產過程中存在的浪費,從圖1我們可以看出,188秒的生產時間占整個周期時間23.6天的1%都沒有,大量的時間浪費在庫存和等待上。通過分析原因,找出關鍵的浪費及其改進的方案并予以實施——即通過實施精益生產來消除產品價值流中的浪費。分析現狀的目的在于解決價值流中的問題,而這些問題要在未來狀態圖的制定中通過實施精益價值流來予以解決。
▼ 發現浪費
確定什么是浪費,要根據精益思維的第一個基本原則——“從顧客的角度而不是從某個公司、部門或機構的角度確定價值”來確定的。精益生產把浪費分為兩種:
① 不增加價值但目前生產、開發等系統要求存在;
② 不增加價值且可以立即消除。
▼ 設計并實施精益的未來價值流準則
我們畫出價值流現狀圖的目的就是要使當前生產狀況所存在的浪費用畫圖和計算的方式充分顯現出來,找出原因,采取措施逐步完善。價值流圖析未來狀態圖就是使得當前價值流變成精益的價值流。
那么,如何設計并實施精益的未來價值流呢?這里提供7個準則并作簡單解釋。
準則1:按顧客節拍生產
使得生產過程的節拍與交付顧客節拍保持一致,實現準時化生產。
準則2:盡可能地實現連續流動
盡量消除和減少庫存和等待,這樣生產過程就可以連續進行。
準則3:在無法實現連續流動的地方采用看板拉動管理
對于節拍相差懸殊,種類繁多的過程,如沖壓和焊接這樣的無法流動過程,采用看板管理。
準則4:努力使得顧客的訂單只發到一個過程
保證信息的一致性。
準則5:在價值流啟動過程按時間均勻分配多品種產品的生產
實現均衡生產。
準則6:在價值流啟動過程通過啟動一個單位的工作來實現初始拉動
這個拉動的“動力源”一定要來自顧客。
準則7:在價值流啟動過程上游工序形成每天能夠制造各種零件的能力
多品種、小批量的混流均衡生產,要求上游過程通過減少換型時間和生產批量來提高對下游過程變化的反應速度,這樣可以盡可能的減小庫存的在制品。
▼ 研究現狀、找出差異并繪制未來價值流圖
未來狀態圖是我們進行精益轉化的目標藍圖。依照精益思維和精益價值流的準則來分析前面做出的現狀圖,使我們可以發現存在很多方面的浪費,以便我們去消除。分析研究現狀圖的關鍵步驟具體來講分為8步(以X公司為例);
☉ 確定有效工作時間和顧客需求節拍
根據顧客需求量18400/月和有效工作時間27600秒/天,可出節拍應為60秒。
☉ 確定發運過程是采用顧客拉動還是建立一個成品發運倉庫
根據公司實際情況,小組確定采用成品發運倉庫。
☉ 確定使用連續流動的過程
將焊接、裝配這些節拍相近的過程和為一個連續的過程(中間無庫存)。
☉ 確定采用拉動系統的過程
將沖壓和后續過程設計成為一個拉動系統,引入看板管理。
☉ 確定生產需求傳送到價值流的哪一個過程,即價值流啟動過程
確定發運過程為價值流啟動過程。
☉ 確定如何在啟動過程均衡生產
通過需求變化傳遞到整個過程來實現均衡生產。
☉ 確定價值流啟動量
根據顧客發運的頻次和發運方式,確定其動量為20件。
☉ 確定設計未來狀態圖時,為了實現精益價值流,必須改進的哪些過程
要實現上述方式,改進的過程有焊接和裝配的整合、沖壓與焊接過程的拉動系統、發運過程的拉動系統、信息傳遞過程的改進等……
完成以上分析工作后,也就可以畫出價值流未來狀態圖。小組所繪未來狀態圖如下文圖2所示。
圖2價值流未來狀態圖
計劃的制定、實施與效果評估
要改進的過程已基本確定,實現過程改進可分為三步:
① 將未來價值流劃分成幾個分價值流循環再考慮要實施哪些改進
② 制定實施計劃
③ 評估計劃實施的效果
CAHC價值流圖析的問題和注意事項
首先圖析技術是發現價值流過程關鍵浪費及其根源的方法,以避免不必要的改進活動(這也是一種浪費),必須通過精益技術消除浪費,才能收到效果。
☉ 圖析準備:培訓十分必要,可以避免方向性的錯誤。
☉ 產品選擇:在考慮產量同時還應顧及產品產值、利潤及其對公司生存與發展等方面的影響。
☉ 價值流現狀圖的繪制:一定要盡可能在較短的時間完成現狀圖數據的收集。
不僅在確定產品適應找出主要因素,在確定顧客要求、過程及其參數、供應商情況時同樣要找出影響本公司的主要因素,避免影響圖析的效果和后續改善的方向和目標。顧客需求節拍應根據實際供貨的歷史加以修正。
顧客拉動和成品倉庫發貨拉動兩種方式實際上都是由顧客需求拉動的,關鍵區別在于是否建立成品庫存。在實施精益生產初期,建議采用成品發運倉庫的方式,這樣能夠保證準時交付顧客。隨著精益生產實施的深入,可以逐步減少成品庫存,最終轉變成顧客拉動。
價值流圖析分析技術實施效果
很多企業實施精益生產都遇到過這樣的問題,從那里開始做,對全部產品還是某一個;生產過程還是倉庫;是單元生產還是一個流?在改進過程中也不可避免的會遇到但某個過程改進了之后,與整條線配合不起來了,導致“還不如不改”的想法。這些問題都是企業在實際生產過程中肯定會遇到的問題。
而價值流圖析技術是避免這類問題的有效工具,他從企業整個價值流出發來分析哪些過程需要改進、如何改進和改進到何種狀態,這也是本文介紹該技術的根本出發點。從CAHC公司價值流現狀圖和未來狀態圖的比較我們可以看出,通過描繪、分析現狀所存在的問題,我們找到了改進點;通過未來狀態圖的繪制,我們確定了改進的目標,然后通過PDCA方法進行有效實施,達到改進的目的,提高企業的效率和競爭能力。
就效果而言,比較現狀和未來狀態,明顯提高了生產的效率和靈活性,更大程度的滿足了顧客的要求:
加工時間與生產周期的比例由188秒/23.6天變為169秒/4.5天,降低了生產時間和生產周期,通過生產周期的降低使得對顧客訂單反應時間提高了5倍以上,這樣可以大量減少庫存,而庫存量的減少則意味著流動資金、財務成本、產品損耗、倉庫管理成本……的降低,也就意味著利潤的提高,試想銷售額提高5倍談何容易,而通過改進就可以實現。
☉ 人員的減少:焊接裝配過程原需要4個作業人員,現在3個足矣。
☉ 避免盲目生產:生產信息由原來的多頭信息改為由發運過程向前傳遞,避免由于不了解后道過程需求盲目生產帶來的“過量生產”浪費,同時有效的滿足顧客不斷變化的要求。
由這些變化帶來的研發、試驗、生產、服務等方面的改進需求,使得所有改進都能夠為提高企業競爭力起到作用,而不是表面文章,還有人的思維變化、顧客滿意度的提高……
價值流圖分析技術的作用
成功實施價值流圖析的企業業績證明,有效實施價值流圖析技術,可以:
☉ 消除50%以上的浪費過程/步驟;
☉ 產品形成周期較當前價值流狀況減少1/3以上;
☉ 需求變化的幅度從30%左右降至5%左右;
☉ 質量水平得以提高,因為質量問題可以得到及時發現并予以解決;
☉ 由于實施小批量多品種,增加了運送的次數,這樣物流成本會有所提高,但整個價值流的成本得到了大幅度的降低。